中秋月亮大又圆,全家围坐笑开颜。国庆烽火燃华夏,勇毅前行创伟涯!感谢您关注金迪冶金【知识新闻资讯】栏目!在这金秋送爽的十一,我们欢庆的不仅是节日,更是大国崛起的辉煌成就,民族自豪感油然而生。1950年10月上旬,应朝鲜党和政府的请求,中共中央作出抗美援朝、保家卫国的战略决策。10月8日,毛泽东发布命令,组成中国人民志愿军,任命彭德怀为司令员兼政治委员。10月19日,中国人民志愿军入朝作战。同心同德再启征程,金迪提醒各位冷轧带肋钢筋加工业界客户朋友:赓续红色血脉,勇扛时代重任,争做发展先锋!感谢您关注巩义市金迪冶金设备有限公司网站http://m.ye-jin.com,欢迎拨打冷轧机,冷轧设备,冷轧带肋系列产品技术咨询电话:13703999014!阅兵雄风扬正气,生产力奔腾促复兴。冷轧机,冷轧设备,冷轧带肋合作伙伴金迪冶金与您共庆盛世,祝国庆安康,宏图大展!

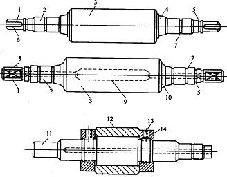
冷轧机轧辊的结构图

加入时间:2012/9/20 10:21:29

冷轧机轧辊的结构图
 

轧辊是冷轧机轧制过程中用来使金属产生塑性变形的工具,是冷轧机的主要部件。当然,该部件也是故障率出现较多、也需客户着力对其进行维护保养的重要部件。但由于很多客户对轧辊的结构不甚了解,所以使得很多客户对其维护保养不甚到位,致使冷轧机常常出现停机检修的现象。巩义市金迪冶金设备有限公司为了解决客户在冷轧作业中所遇到的难题,特将冷轧机轧辊的结构图发表于公司网站内,以方便客户的查阅、浏览。

         根据冷轧机轧辊的结构图,我们从中可观察出,轧辊一由14个部件构成,分别是1-传动端;2-辊颈;3-辊身;4-圆锥过渡区;5-紧固件槽;6-键槽;7-辊颈润滑油沟;8-平口;9-内孔;lO-双圆锥过渡区;11-心轴;12-硬质合金套;13-螺钉;14-轴向紧定用螺母等构成。
       冷轧机轧辊的结构图就是上述内容。巩义市金迪冶金设备有限公司生产的机器设备有:冷轧机、冷轧设备、两肋冷轧机、冷轧带肋钢筋设备、冷轧带肋钢筋生产线、热轧收线机、钢筋调直切断机、钢筋调直机、钢筋切断机、飞剪切断机、钢筋延伸机、高频热处理设备、三级钢调直切断机、工字轮收线机、钢筋翻转料架等。网址www.ye-jin.com,电话:13703999014、0371-64388822传真:0371-64382209刘经理:13703999014李经理:13703999014向我公司咨询洽谈!